散热器(空气热交换器)
当前位置:首页>产品展示
FUL型浮头式油加热器
FUL型浮头式加热器是—种新型的换热装置,它采用了具有优良技术性能的钢铝复合翅片管和用以补偿热应力的浮头式结构,因此,它是以导热油(也称有机热载体或热煤体)为传热介质进行空气加热换热装置的选择。近年来,该散热器在纺织、印染、橡胶、制革、木材加工、涂装烤漆等行业中已得到广泛应用,均取得满意的效果。
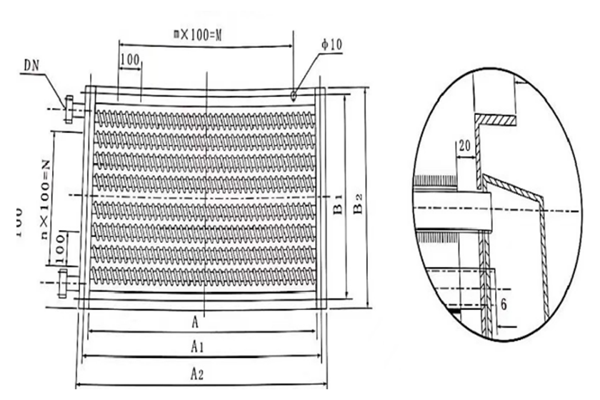
FUL型浮头式加热器,采用具有优良技术性能的钢铝复合翅片管和用以补偿热应力的浮头式结构。钢铝复合翅片管制造工艺先进,它是钢、铝管复合在专用机床上轧制而成,使钢基管与铝翅片结合紧密,热阻小、传热性好、强度高,流动损失小、防腐性强等优点。尤其有高温运行中,使用浮头式油加热器,散热管能自动伸张、收缩、减少巨大热应力,保证设备使用寿命。(注:FUL型浮头式油加热器的不同表面管长、管数及排数组成多种规格,其流程可根据用户需要。二排管高度为180mm,三排管为200mm,六排管为360mm,八排管为420mm等多种流程,可任意选用。)
结构示意图:

型号参数列表:


苏ICP备2021052741号